Copyright www.zhendong1688.com All Rights Reserved. ©河南赢响力文化传媒有限公司
豫公网安备41071102000689
|
商家资料
|

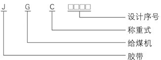
JGC-40型称重给料机是对散状物料进行连续输送、计量的理想设备,并可根据现场工艺要求,实现开环或闭环的流量控制。广泛应用于冶金、电力、煤炭、化工、水泥、轻工等行业。型号与含义
型号与含义

功能特点
独特的防跑偏技术,确保皮带机良好运行;
高精度称重系统无运动摩擦、维护量极小;
无级调整传动系统保证理想的给料量;
称重传感器采用双层密封,具有良好的防潮。防腐性能和长期的稳定性;
数字式脉冲发生器提供可靠的速度信号;
具有自动调零、自动调间隔、自动诊断故障等功能;
具有独特的电子标定或挂码标定功能。
技术参数

称重给料机安装尺寸图
